- ショップアイデアル(直営店)
弊社直営のオンラインショップです。迅速かつ確実にお届けします。
- アイデアルトランクネットショップ(楽天市場)
弊社グループ会社直営の楽天市場店です。主に輸送ケースを販売しています。
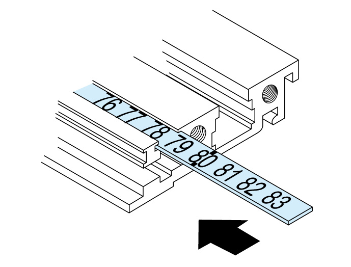
●サブラックのコネクター取付用のフレームです。
●DIN41617規格のコネクタ(取り付けピッチ85mm)を取り付けることができるフレームです。
●5.08mmピッチでM2.5タップ加工を施しています。
●化成皮膜処理を行うことで導通性を持たせています。
| 主要材質 | アルミ |
|---|---|
| 色・ 外装処理 | 化成皮膜処理 |
| 各種資料 | カタログ |
| 型番 | 在 庫 | 販売 単位 (1セット) | RoHS 指令 | 幅 (mm) | 高さ (mm) | 奥行 (mm) | 色 外装処理 | 主要 材質 | 適合製品型番 | 仕 様 | 質量 (kg) | 標準価格 (税抜) | 図面ファイル | 購入 |
|---|---|---|---|---|---|---|---|---|---|---|---|---|---|---|
| FRP-84CW-085DG | ◎ | 1 | 10物質対応 | 426.72 | 25 | 4.8 | 化成皮膜処理 | アルミ | FRS-□□□□-84A□G FRS-□□□□-84IHG | - | 0.062 | 2,410 | - |
※背景が赤くなっている製品は、現在廃番になっております。
※ラックの場合、型番をクリックすると、使用できるアクセサリーの一部がページ下部に表示されます。